jaké ET ?
- tomason
- Test driver

- Příspěvky: 4248
- Registrován: 02.03.2008 13:00
- Bydliště: Praha na půl
Re: jaké ET ?
já mam 42,5 ET a je to akorát FII jen předek nahazuje v létě asfalt na boky budu muset pořešit zástěry
dokonce 43 sem si to nějako poplet
byl focus 2005 1.8TDCI
je Focus 2008 1.8TDCI
je Focus 2008 1.8TDCI
- 321momo123
- Nováček

- Příspěvky: 151
- Registrován: 08.03.2009 03:03
- Bydliště: Partizanske - SVK
Re: jaké ET ?
JAk hovoris mne to ide zarovno vrchnych lemov a boky mam cele od blata a co ja viem hold kdo chce na sirokych chodit musi tolerovat , ale ak by sa to dalo riesit tymi blatnickami vyriesit tak by som bol mile rad
- Kroco02
- Pokročilý

- Příspěvky: 801
- Registrován: 20.08.2008 09:16
- Bydliště: Slušovice [Zl]
- Kontaktovat uživatele:
Re: jaké ET ?
Takze ten rozmer 6,5Jx16H2 ET46 by mel byt v pohode a nemel by skrtat v blatnicich? Mam jedny takove vyhledle, vidim, ze jste to kousek nahoru resili, ale radsi se ptam jeste jednou, at mam jistotu..Diky
-
zirafak
- Test driver

- Příspěvky: 8970
- Registrován: 02.02.2008 03:18
Re: jaké ET ?
Uplne v pohode za predpokladu predpisanych pneu 
- Kroco02
- Pokročilý

- Příspěvky: 801
- Registrován: 20.08.2008 09:16
- Bydliště: Slušovice [Zl]
- Kontaktovat uživatele:
Re: jaké ET ?
205/55/R16,nemylim-li se..diky
-
zirafak
- Test driver

- Příspěvky: 8970
- Registrován: 02.02.2008 03:18
Re: jaké ET ?
sa mylis
205-50-16 zneje lepsejsie 
- Kroco02
- Pokročilý

- Příspěvky: 801
- Registrován: 20.08.2008 09:16
- Bydliště: Slušovice [Zl]
- Kontaktovat uživatele:
Re: jaké ET ?
Safra, dival jem se na tento topic a nevsiml si, ze je to 2004>...To jsi me nepotesil, protoye pneu v 50 stoji o 500 vic jak v 55..kua, myslis ze by ty 55 nesli? ty dva litry navic jsou pro me hodne!!

-
zirafak
- Test driver

- Příspěvky: 8970
- Registrován: 02.02.2008 03:18
Re: jaké ET ?
precitaj si toto vlakno,lebo uz som to tu ozaj opaxoval xxxx krat 
-
vilik 24
- Junior

- Příspěvky: 250
- Registrován: 24.08.2008 20:52
- Bydliště: Pardubice
Re: jaké ET ?
Tak jsem to tady pročet všechno,ale moudrej s toho nejsem
Může někdo prosím napsat jaké ET můžu použít při rozměru kola 6Jx15.Rád bych dodržel předepsané rozměry,ale ET 47,5.50.a 52,5 se mi zdaj moc utopený.Pneu bude samozřejmě 195/60 15.Toto je velká alchymie.
.Díky za odpověď.
Ford Focus ll 1.8 16V 92 kw Duratec Combi r.v. 2006
Ford Ka 1.3 51 kw Duratec 2002
Ford Focus 1.6 16V Combi r.v.2003 - po smrti
Ford Ka 1.3 51 kw Duratec 2002
Ford Focus 1.6 16V Combi r.v.2003 - po smrti
-
MK2
- Test driver

- Příspěvky: 4585
- Registrován: 01.09.2008 20:30
- Bydliště: Kolín, Nedašov
Re: jaké ET ?
Co je ET?
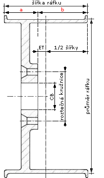
Tzv. "zális" neboli „ET“ (z něm. Einpresstiefe) je vzdálenost mezi rovinou procházející středem disku a rovinou dosedací plochy disku. Udává se v milimetrech. Čím větší je hodnota ET, tím více je kolo schováno v blatníku. Čím menší je hodnota ET, tím více kolo vystupuje z blatníku.
Příklad:
ET45 = kolo je hodně schováno v blatníku
ET0 = kolo vystupuje až k okraji blatníku
Doporučené rozměry disků:
Focus 1 (1999-2004) rozteč 4x108
5,5Jx14 ET 43,5
6Jx15 ET 52,5/50,0/47,5
6Jx16 ET 52,5
7Jx17 ET 49
Focus 2 (2004-2010) rozteč 5x108
6Jx15 ET 52,5
6,5Jx16 ET 52,5/50,0/47,5
7Jx16 ET 50
6,5Jx17 ET 52,5
7Jx17 ET 50
7,5Jx18 ET 52,5
8Jx18 ET 52,5 (ST)
Je možno použít i jiné než doporučené ET. Od ET 38 až do 52,5 (dle disku) je možno použít na Focusech bez problémů při zachování doporučených rozměrů pneumatik.
Pokud si nejste jisti, změřte si vzdálenost kola od blatníku, zadejte hodnoty svého disku a disku, který chcete koupit, do této kalkulačky a následně si pak změřte jestli se vám vleze kolo do blatníku. Technické info
Tzv. "zális" neboli „ET“ (z něm. Einpresstiefe) je vzdálenost mezi rovinou procházející středem disku a rovinou dosedací plochy disku. Udává se v milimetrech. Čím větší je hodnota ET, tím více je kolo schováno v blatníku. Čím menší je hodnota ET, tím více kolo vystupuje z blatníku.
Příklad:
ET45 = kolo je hodně schováno v blatníku
ET0 = kolo vystupuje až k okraji blatníku
Doporučené rozměry disků:
Focus 1 (1999-2004) rozteč 4x108
5,5Jx14 ET 43,5
6Jx15 ET 52,5/50,0/47,5
6Jx16 ET 52,5
7Jx17 ET 49
Focus 2 (2004-2010) rozteč 5x108
6Jx15 ET 52,5
6,5Jx16 ET 52,5/50,0/47,5
7Jx16 ET 50
6,5Jx17 ET 52,5
7Jx17 ET 50
7,5Jx18 ET 52,5
8Jx18 ET 52,5 (ST)
Je možno použít i jiné než doporučené ET. Od ET 38 až do 52,5 (dle disku) je možno použít na Focusech bez problémů při zachování doporučených rozměrů pneumatik.
Pokud si nejste jisti, změřte si vzdálenost kola od blatníku, zadejte hodnoty svého disku a disku, který chcete koupit, do této kalkulačky a následně si pak změřte jestli se vám vleze kolo do blatníku. Technické info
2012 Mazda 3 2.0DISI 111kW
-
vilik 24
- Junior

- Příspěvky: 250
- Registrován: 24.08.2008 20:52
- Bydliště: Pardubice
Re: jaké ET ?
Aha,takže jestli tomu dobře rozumim můžu použít při předepsaném rozměru ráfku 6Jx15 a předepsaném rozměru pneu 195/60 15 ET od 38 do 52,5 a nebude mi to nikde škrtat o brzdy,nebo mi to nepoleze z blatníku.
Pokud je to tak,tak je to to co jsem chtěl vědět.Ďekuji za vyčerpávající informace.
Pokud je to tak,tak je to to co jsem chtěl vědět.Ďekuji za vyčerpávající informace.
Ford Focus ll 1.8 16V 92 kw Duratec Combi r.v. 2006
Ford Ka 1.3 51 kw Duratec 2002
Ford Focus 1.6 16V Combi r.v.2003 - po smrti
Ford Ka 1.3 51 kw Duratec 2002
Ford Focus 1.6 16V Combi r.v.2003 - po smrti
-
vilik 24
- Junior

- Příspěvky: 250
- Registrován: 24.08.2008 20:52
- Bydliště: Pardubice
Re: jaké ET ?
Prosím ještě o reakci Zirafaka.Díky.vilik 24 píše:Aha,takže jestli tomu dobře rozumim můžu použít při předepsaném rozměru ráfku 6Jx15 a předepsaném rozměru pneu 195/60 15 ET od 38 do 52,5 a nebude mi to nikde škrtat o brzdy,nebo mi to nepoleze z blatníku.
Pokud je to tak,tak je to to co jsem chtěl vědět.Ďekuji za vyčerpávající informace.
Ford Focus ll 1.8 16V 92 kw Duratec Combi r.v. 2006
Ford Ka 1.3 51 kw Duratec 2002
Ford Focus 1.6 16V Combi r.v.2003 - po smrti
Ford Ka 1.3 51 kw Duratec 2002
Ford Focus 1.6 16V Combi r.v.2003 - po smrti
-
zirafak
- Test driver

- Příspěvky: 8970
- Registrován: 02.02.2008 03:18
Re: jaké ET ?
Ta 38-micka bude uz ozaj hranicna a mozno v ozaj extreme si liznes pri prepruzeni o podblatnik.Pre totalny klud by som nesiel pod 40 
-
vilik 24
- Junior

- Příspěvky: 250
- Registrován: 24.08.2008 20:52
- Bydliště: Pardubice
Re: jaké ET ?
Mockrat děkuju,budu se tvojí radou řídit. 
Ford Focus ll 1.8 16V 92 kw Duratec Combi r.v. 2006
Ford Ka 1.3 51 kw Duratec 2002
Ford Focus 1.6 16V Combi r.v.2003 - po smrti
Ford Ka 1.3 51 kw Duratec 2002
Ford Focus 1.6 16V Combi r.v.2003 - po smrti
-
vilik 24
- Junior

- Příspěvky: 250
- Registrován: 24.08.2008 20:52
- Bydliště: Pardubice
Re: jaké ET ?
Zdravím,co říkáte na 6.5j16 et37.Má někdo takový kola?Jak to na autě vypadá?Nedře to někde?Rád bych koupil 15"et tak kolem 43,ale moc toho na výběr není.Tak musím brát co je,nový kola kupovat nechci.
Děkuju za každou radu.
Děkuju za každou radu.
Ford Focus ll 1.8 16V 92 kw Duratec Combi r.v. 2006
Ford Ka 1.3 51 kw Duratec 2002
Ford Focus 1.6 16V Combi r.v.2003 - po smrti
Ford Ka 1.3 51 kw Duratec 2002
Ford Focus 1.6 16V Combi r.v.2003 - po smrti
Kdo je online
Uživatelé prohlížející si toto fórum: Žádní registrovaní uživatelé a 4 hosti




