jaké má ET mondeo??
-
ballu
- Test driver

- Příspěvky: 4915
- Registrován: 28.01.2009 22:46
- Bydliště: Zlín
Re: jaké má ET mondeo??
gines: ale taky musíš napsat rozměr ráfku a gumy, samotné ET nic neřekne.Vše na sebe navazuje.Dle tvého ET máš obuto min 225- tky 
BMW R1100 RT
Bývalo :
Mondeo 2,0L benzín Duratec
Escort 1.6 16V
Bývalo :
Mondeo 2,0L benzín Duratec
Escort 1.6 16V
-
gines
- Zkušený

- Příspěvky: 1780
- Registrován: 20.10.2008 17:53
- Bydliště: Plzeň
- Kontaktovat uživatele:
Re: jaké má ET mondeo??
Ne. Mam klasiku 205/55/16.
-
zirafak
- Test driver

- Příspěvky: 8970
- Registrován: 02.02.2008 03:18
Re: jaké má ET mondeo??
Neviem,co ma spolocne et s tym,aku mas obutu siroku pneuballu píše:gines: ale taky musíš napsat rozměr ráfku a gumy, samotné ET nic neřekne.Vše na sebe navazuje.Dle tvého ET máš obuto min 225- tky
- Boban
- Test driver

- Příspěvky: 8641
- Registrován: 02.02.2008 03:18
- Bydliště: Havl. Brod (CZ)
- Kontaktovat uživatele:
Re: jaké má ET mondeo??
možná myslel kvůli šířce ráfku, ale to by asi nemohlo ani bejt při to ET tuším ET38 při 7J ráfku a je takový nějaký pravidlo který neznám který plášť od -do na jakou šířku ráfku, Zirafak nevíš ?
Ford Galaxy 2.0 \tdci
MB W124
Ford Fiesta 2007
old Mondeo galerie
old Focus galerie old Focus galerie II

MB W124
Ford Fiesta 2007
old Mondeo galerie
old Focus galerie old Focus galerie II
-
ballu
- Test driver

- Příspěvky: 4915
- Registrován: 28.01.2009 22:46
- Bydliště: Zlín
Re: jaké má ET mondeo??
S ET se hýbe ohledně šíře gumy a rozměru ráfku ,protože tím srovnáváš polohu kola v podběhu, hlavně vzdálenost kola od tlumiče. Špatná volba ET a k tomu gumy, zmenšuje max rejd tím , že bude dřít o tlumič /podběh/ v případě při propružení , kolo bude brousit lem blatníku. Stačí to tak? 
BMW R1100 RT
Bývalo :
Mondeo 2,0L benzín Duratec
Escort 1.6 16V
Bývalo :
Mondeo 2,0L benzín Duratec
Escort 1.6 16V
- Boban
- Test driver

- Příspěvky: 8641
- Registrován: 02.02.2008 03:18
- Bydliště: Havl. Brod (CZ)
- Kontaktovat uživatele:
Re: jaké má ET mondeo??
Ballu přesně tak, možná by nebylo nšpatný sem vypsat min - myx ET př určité šířce ráfku a možnost použití pneu na konkrétní ráfek.
Ford Galaxy 2.0 \tdci
MB W124
Ford Fiesta 2007
old Mondeo galerie
old Focus galerie old Focus galerie II

MB W124
Ford Fiesta 2007
old Mondeo galerie
old Focus galerie old Focus galerie II
-
Ambri
- Nováček

- Příspěvky: 43
- Registrován: 18.03.2009 17:18
- Bydliště: Neplachovice
Re: jaké má ET mondeo??
ahoj kamarádi, mám možnost koupi podložek na forda a tohle mi napsal prodavájící ohledně dosedu na kola , ale něják tomu nerozumím, potřeboval bych vědět jestli to můžu dát na auto?
vnější 6,4,vnitřní 5,4
náběh 6,8,vnitřní 6,4
vnější 6,4,vnitřní 5,4
náběh 6,8,vnitřní 6,4
Ford Mondeo 2.0TDCi 2005 super auto
Peugeot 406 2.1 TDi 1999 krasavec ve verzi TaxiTaxi
Ford C - Max 1.8i 2005 prodavám je to totalka
(((
Peugeot 406 2.1 TDi 1999 krasavec ve verzi TaxiTaxi
Ford C - Max 1.8i 2005 prodavám je to totalka
-
ballu
- Test driver

- Příspěvky: 4915
- Registrován: 28.01.2009 22:46
- Bydliště: Zlín
Re: jaké má ET mondeo??
Jaké ET , je dané v TP, a pak vyzkoušené v jakém rozmezí na ten nebo onen vůz může být osazeno aby nadělalo neplechu.
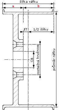
Nějaké vysvětlení ET je zde.
http://www.elektrony.cz/?&volba=TechInfo
Nějaké vysvětlení ET je zde.
http://www.elektrony.cz/?&volba=TechInfo
BMW R1100 RT
Bývalo :
Mondeo 2,0L benzín Duratec
Escort 1.6 16V
Bývalo :
Mondeo 2,0L benzín Duratec
Escort 1.6 16V
-
ballu
- Test driver

- Příspěvky: 4915
- Registrován: 28.01.2009 22:46
- Bydliště: Zlín
Re: jaké má ET mondeo??
Ambri: je rozdíl na co to chceš, zvýšit rozchod, změna roztečí šteftů pro jiné AL ?
BMW R1100 RT
Bývalo :
Mondeo 2,0L benzín Duratec
Escort 1.6 16V
Bývalo :
Mondeo 2,0L benzín Duratec
Escort 1.6 16V
-
Ambri
- Nováček

- Příspěvky: 43
- Registrován: 18.03.2009 17:18
- Bydliště: Neplachovice
Re: jaké má ET mondeo??
rozchod!! rozšiření kol
Ford Mondeo 2.0TDCi 2005 super auto
Peugeot 406 2.1 TDi 1999 krasavec ve verzi TaxiTaxi
Ford C - Max 1.8i 2005 prodavám je to totalka
(((
Peugeot 406 2.1 TDi 1999 krasavec ve verzi TaxiTaxi
Ford C - Max 1.8i 2005 prodavám je to totalka
- Boban
- Test driver

- Příspěvky: 8641
- Registrován: 02.02.2008 03:18
- Bydliště: Havl. Brod (CZ)
- Kontaktovat uživatele:
Re: jaké má ET mondeo??
ballu jasný v TP je psaný ET52,5 ale jsou výrobci kol (úpravci fordů) kteří dávaj kola s jiným ET a dle papíru ke kolům ti to zapíšou do TP.
dám příklad :
WOLF dělá kola určené pro mondeo s šířkou ráfku 7" ET35 který je už extrém, ale zapíšou ti do TP.
Nechalo by se obecně říct, že pro mondeo MKIII je použitelný ET52,5 až 35 při ráfku 7"
při použitá 8" by mělo být od ET52.5 do max ET40
dám příklad :
WOLF dělá kola určené pro mondeo s šířkou ráfku 7" ET35 který je už extrém, ale zapíšou ti do TP.
Nechalo by se obecně říct, že pro mondeo MKIII je použitelný ET52,5 až 35 při ráfku 7"
při použitá 8" by mělo být od ET52.5 do max ET40
Ford Galaxy 2.0 \tdci
MB W124
Ford Fiesta 2007
old Mondeo galerie
old Focus galerie old Focus galerie II

MB W124
Ford Fiesta 2007
old Mondeo galerie
old Focus galerie old Focus galerie II
-
Ambri
- Nováček

- Příspěvky: 43
- Registrován: 18.03.2009 17:18
- Bydliště: Neplachovice
Re: jaké má ET mondeo??
já jsem si teď vzal kola 6J a ET 40, takže potřebují vědět, jestli si můžu vzít ty podložky?
Ford Mondeo 2.0TDCi 2005 super auto
Peugeot 406 2.1 TDi 1999 krasavec ve verzi TaxiTaxi
Ford C - Max 1.8i 2005 prodavám je to totalka
(((
Peugeot 406 2.1 TDi 1999 krasavec ve verzi TaxiTaxi
Ford C - Max 1.8i 2005 prodavám je to totalka
- Boban
- Test driver

- Příspěvky: 8641
- Registrován: 02.02.2008 03:18
- Bydliště: Havl. Brod (CZ)
- Kontaktovat uživatele:
Re: jaké má ET mondeo??
no já z toho nejsem vůbec moudrej co tím básník myslí těmi čísly to šíře v mm ???? já bych už podložky nedával 
Ford Galaxy 2.0 \tdci
MB W124
Ford Fiesta 2007
old Mondeo galerie
old Focus galerie old Focus galerie II

MB W124
Ford Fiesta 2007
old Mondeo galerie
old Focus galerie old Focus galerie II
-
Ambri
- Nováček

- Příspěvky: 43
- Registrován: 18.03.2009 17:18
- Bydliště: Neplachovice
Re: jaké má ET mondeo??
basník tím myslí, náběh na kolo, jako to usazení!!
Ford Mondeo 2.0TDCi 2005 super auto
Peugeot 406 2.1 TDi 1999 krasavec ve verzi TaxiTaxi
Ford C - Max 1.8i 2005 prodavám je to totalka
(((
Peugeot 406 2.1 TDi 1999 krasavec ve verzi TaxiTaxi
Ford C - Max 1.8i 2005 prodavám je to totalka
-
HmerX
- Test driver

- Příspěvky: 4305
- Registrován: 24.10.2008 20:08
- Bydliště: Letovice
Re: jaké má ET mondeo??
Opravdu záleží i na šířce pneumatik. ET je vzdálenost dosedací plochy disku od středové roviny disku
Takže je nejlepší vědět, jak daleko je střed kola od tlumiče, a od té roviny měřit podle šířky pneumatiky jak směrem k tlumiči i ven k lemu blatníku ... snad jsem to dobře popsal ...
Takže je nejlepší vědět, jak daleko je střed kola od tlumiče, a od té roviny měřit podle šířky pneumatiky jak směrem k tlumiči i ven k lemu blatníku ... snad jsem to dobře popsal ...
- Přílohy
-
- rafek.gif (7.4 KiB) Zobrazeno 7531 x
Ford Focus 2005 2,0 TDCi
Kdo je online
Uživatelé prohlížející si toto fórum: Žádní registrovaní uživatelé a 9 hostů

