Denní svícení S Max

Co nelze nikam zařadit pro Smax a Galaxy ...
Moderátor:foki
Odpovědět
pavel2501
Nováček
Nováček
Příspěvky: 10
Registrován: 03.05.2010 12:04

Denní svícení S Max

Příspěvek od pavel2501 » 12.02.2018 08:41

Ahoj, mám S Maxe 2,2 tdci r.v. 2009.
Potřebuju vědět kam mám zapojit denní svícení. Podle návodu mi to nefunguje. Kde najdu v motorovém prostoru spínané napájení ? ( zapnutí klíčku ) Měla to být jednoduchá montáž :(
Žlutý na napájení parkovacích světel
Černý na mínus baterky
Bílý na spínané napájení

Uživatelský avatar
vitut
Člen klubu
Člen klubu
Příspěvky: 3024
Registrován: 25.06.2008 13:03
Bydliště: Milovice(NB), Štoky(HB)
Kontaktovat uživatele:

Re: Denní svícení S Max

Příspěvek od vitut » 12.02.2018 09:36

Predpokladam, ze DRL Ti nezhasinaji. Pripoj na parkovacky rozpinaci rele a pomoci neho ovladej denni svetla.
S-Max, 2.0 TDCi, 103 kW, 2009, modrá Blazer
FoFo1 combi, 2.0 16V, 127 kW, 2003, modrá Imperial
C-Max mk1, 1.8 16V, 88 kW, 2004

byl: FoFo1 combi, 1.8 TDCi, 85 kW, 2002, šedá

Obrázek

pavel2501
Nováček
Nováček
Příspěvky: 10
Registrován: 03.05.2010 12:04

Re: Denní svícení S Max

Příspěvek od pavel2501 » 12.02.2018 09:46

vitut píše:Predpokladam, ze DRL Ti nezhasinaji. Pripoj na parkovacky rozpinaci rele a pomoci neho ovladej denni svetla.
Ahoj, tyto světla DRL MINI 1812 mají mít vše integrované. Jen nevím kde najdu u S Maxe v motorovém prostoru spínané napájení. Žlutý jsem připojil na parkovačky, černý na mínus baterky ale bílý nevím kam zapojit .
Do spínací skříňky pod volant se nedostanu alespoň nevím kudy od motoru

skyjet
Nováček
Nováček
Příspěvky: 60
Registrován: 23.08.2010 18:07

Re: Denní svícení S Max

Příspěvek od skyjet » 14.02.2018 10:06

Napájanie zober z poistky číslo 15 v motorovej poistkovej skrinke. Musím ťa však sklamať. Integrovaná elektronika ktorá je v DRL a slúži na ich vypnutie pri zapnutí obrysových svetiel nefunguje pri zapnutom motore. DRL ti budú blikať a nevypnú sa ti. Mám to vyskúšané na mojom aute tak ako X iných ľudí. Daj tam rozpínacie relé a na tu elektroniku v DRL sa vykašli.
Ford S-Max r.v. 2009 Titianium, 1,8TDCi 92kW
Bol:
Ford Focus II r.v. 2006 1,6TDCi 80kW, odstránený DPF

pavel2501
Nováček
Nováček
Příspěvky: 10
Registrován: 03.05.2010 12:04

Re: Denní svícení S Max

Příspěvek od pavel2501 » 14.02.2018 11:53

skyjet píše:Napájanie zober z poistky číslo 15 v motorovej poistkovej skrinke. Musím ťa však sklamať. Integrovaná elektronika ktorá je v DRL a slúži na ich vypnutie pri zapnutí obrysových svetiel nefunguje pri zapnutom motore. DRL ti budú blikať a nevypnú sa ti. Mám to vyskúšané na mojom aute tak ako X iných ľudí. Daj tam rozpínacie relé a na tu elektroniku v DRL sa vykašli.



Ahoj, díky za radu . Máš pravdu uz jsem si relé koupil .

pavel2501
Nováček
Nováček
Příspěvky: 10
Registrován: 03.05.2010 12:04

Re: Denní svícení S Max

Příspěvek od pavel2501 » 14.02.2018 14:39

pavel2501 píše:
skyjet píše:Napájanie zober z poistky číslo 15 v motorovej poistkovej skrinke. Musím ťa však sklamať. Integrovaná elektronika ktorá je v DRL a slúži na ich vypnutie pri zapnutí obrysových svetiel nefunguje pri zapnutom motore. DRL ti budú blikať a nevypnú sa ti. Mám to vyskúšané na mojom aute tak ako X iných ľudí. Daj tam rozpínacie relé a na tu elektroniku v DRL sa vykašli.



Ahoj, díky za radu . Máš pravdu uz jsem si relé koupil .
Tak jsem tam dal to relé a chová se to stejně, při nastartování a zakrytí čidla se rozsvítí světlomety a led se jen ztlumí ale nezhasnou. Asi to neumím zapojit nejsem automechanik :oops: .
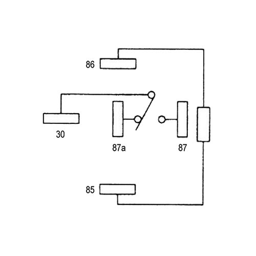
Jsou tam kontakty 30, 87, 87a, 86, 85. můžeš mi poradit kam zapojit žlutej, bílej a černej drát?
Díky

CHiP
Nováček
Nováček
Příspěvky: 151
Registrován: 19.10.2016 10:26

Re: Denní svícení S Max

Příspěvek od CHiP » 14.02.2018 14:53

DLR mají dva kabely k napájení, většinou červený +12V (u tebe asi bílý) a černý -12V. Napájecí +12V (červený) přeruš a připoj ho na rozpínací kontak na relátku. A relátko připoj třeba na parkovačku. Žlutý kabel nikam nepřipojuj, jeho funkci nahradí právě to relátko :)
Mondeo kombi MK IV, 2012, 2.2TDCi 147kW, Titanium+Webasto+Winter packet (od 2016)
Fabia I, 2004, 1,4 16V 55kW, Elegance+ESP+AUTOMAT (od 2018)
Fabia I, 2005, 1,2HTP 47kW, holobyt (od 2021)
Scania G450, 2022, 331kW, Opticruise + retardér (od 2022)

pavel2501
Nováček
Nováček
Příspěvky: 10
Registrován: 03.05.2010 12:04

Re: Denní svícení S Max

Příspěvek od pavel2501 » 14.02.2018 17:37

Ahoj, jsem úplný hovado. :oops: Můžeš mi podle přiloženyho obrázku poradit kam ten bílej drát zapojit?
Chápu to dobře že 30 a 87 ?. Sorry jestli rušim :nixw:
Přílohy
automobilove-rele-12v-30a-prepinaci-a-spinaci-kontakt-31630.jpg

Uživatelský avatar
ZaQik
Admin
Admin
Příspěvky: 24999
Registrován: 30.05.2010 17:33
Bydliště: exit 82 na D0

Re: Denní svícení S Max

Příspěvek od ZaQik » 14.02.2018 18:13

zluty nedas nikam
bily prerusis a vznikle dva konce das na 30 a 87a
od parkovacek vytahnes drat a das ho na 86
na 85 pripojis kostru
Ford Focus mk3 combi 1.6 Ti-VCT, r.v.2018 + Ford Fiesta mk7 3D 1.25, r.v.2014
byl Ford Focus mk2 combi 1.6, r.v.2009 + Ford Fiesta mk6 1.4 TDCi r.v. 2004
Nejsem poradna, encyklopedie ani hotline spolecnosti Ford - ptejte se na foru, od toho je.

pavel2501
Nováček
Nováček
Příspěvky: 10
Registrován: 03.05.2010 12:04

Re: Denní svícení S Max

Příspěvek od pavel2501 » 14.02.2018 19:42

Super díky moc uz to maka jak má :Dancer:

Odpovědět

Zpět na „Všeobecné“

Kdo je online

Uživatelé prohlížející si toto fórum: Žádní registrovaní uživatelé a 2 hosti