Napojení vlastní elektroniky.

Moderátor:foki
Uživatelský avatar
forinti
Nováček
Nováček
Příspěvky: 20
Registrován: 03.04.2015 22:22

Napojení vlastní elektroniky.

Příspěvek od forinti » 26.09.2015 21:25

Zdravím,
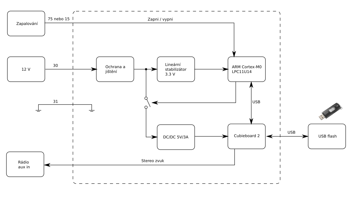
toto je můj první příspěvek, tak se omlouvám pokud je to blbě zařazené. Pracuji na vlastním MP3/cokoliv přehrávači do auta. V podstatě to bude takový mini-počítač s Linuxem s audio výstupem napojeným na aux in rádia.
Proč to dělat tak složitě a nekoupit hotové řešení? Ehm, mám do budoucna výrazně větší plány :D

Narážím ale na jeden problém, ve schématu FF2_el_schemata_2007.pdf se víceméně orientuji, ale nemám nejmenší ponětí kde jaký konektor v autě najdu. Dokázal by mi prosím někdo poradit kam mou elektroniku nejlépe připojit?
Potřebuji:
* Nespínané napájení z baterie - asi 30
* Signál o tom že zapalování není v poloze vypnuto - asi 75 nebo 15
* Zem - asi 31

Později se budu potřebovat napojit i na MS-CAN, tedy pokud to má smysl. Předpokládám že tam budou chodit zprávy o tlačítkách pro ovládání rádia na volantu. Ověřené to ale nemám.

Díky
Přílohy
blok_schema.png
Ford Focus II 1.8 TDCi 85 kw, r.v. 2008, 223 000 km

stano.
Člen klubu
Člen klubu
Příspěvky: 13642
Registrován: 18.07.2011 19:55

Re: Napojení vlastní elektroniky.

Příspěvek od stano. » 26.09.2015 21:37

Zo zapalovania nie je dobre priamo ist do mikrocipu. Riziko spiciek, prepati, rusenia. Aby ti to neodpalilo jemne suciastky. Zapojit to cez tranzistor na tych 3.3V, alebo nejaky odrusovaci clen - LC clen a odporovy delic.
Napajanie mas 2 moznosti - bud trvalo z baterie, alebo za tzv." battery saver" rele. V prvom priapde mas stale napatie, ale mozes vymlatit baterku. V druhom pripade to vypina cca 15 minut po necinnosti (po zamknuti auta). Baterku nevymlati, ale zas natvrdo odpoji napajanie.

Mozes rozpisat podrobnosti, som zvedavy. Co s tym mas v plane a ako to zabudovat. Ja idem nadratovat Raspberry do auta.Len stale neviem, co s displejom :?

Uživatelský avatar
forinti
Nováček
Nováček
Příspěvky: 20
Registrován: 03.04.2015 22:22

Re: Napojení vlastní elektroniky.

Příspěvek od forinti » 26.09.2015 22:04

Přímo do procesoru určitě nic nepovede, to by by nedopadlo dobře, je to nakreslené jen pro základní představu.
Určitě budu potřebovat aby to bylo připojené na baterce trvale. Ten procesor má při kmitočtu sníženém na 1MHz spotřebu do 2 mA, tak by to mělo být v pohodě. Navíc bude měřit napětí baterie a pokud příliš klesne, tak se vypne.
Prozatím ten procesor bude blikat s LEDkou jako falešný alarm a řídit napájení, zapínání a vypínání Cubieboardu.

Celková představa do budoucna je asi taková:
* napojení na MS-CAN pro ovládání přehrávače z volantu (snad tam ty zprávy chodí)
* napojení na HS-CAN pro údaje o rychlosti atp. + přidání akcelerometru - podle těchto údajů by Cubieboard vytvářel chytrý playlist podle stylu jízdy
* udržovala by se databáze hudby - přednost by dostaly nově přidáné písničky atp.
* vlastní imobilizér, který vyřadí startér + autoalarm, možná i něco na vypuzení zloděje z auta :D
Nemám ale ještě vymyšleno jak rozpoznat vlastníka od zloděje.

Co budeš mít na dispeji?
Ford Focus II 1.8 TDCi 85 kw, r.v. 2008, 223 000 km

stano.
Člen klubu
Člen klubu
Příspěvky: 13642
Registrován: 18.07.2011 19:55

Re: Napojení vlastní elektroniky.

Příspěvek od stano. » 26.09.2015 22:23

2mA na procesor plus odber pre stabilizator. Pocitajme 4mA, co je pri tyzdennom stani na parkovisku do 0.7Ah. To by nebude problem. Ten pokles napatia bude treba urobit inteligentnejsi. Ked napatie dlhodobo klesne pod 11-12V, tak je zle. Nenastartujes. Ale v zime pri startovani moze napatie spadnut kratkodobo pod 10V. Nech ti to nevypina.

To s hudbou je dost sialena myslienka :mrgreen: Playlist podla stylu jazdy. Potom aj podla osvetlenia, aby v noci pri kludnej jazde si nezaspal ;)
Rozoznat ta moze napriklad pri sparovani cez Bluetooth v mobile (len aby si nemal vybity mobil :D ) Alebo nejaku radio klucenku na ebay za par dolarov s prijimacom.

Ja tam nahodim prehravac hudby z internet radia. Aplikaciu pre live data z OBD (ako Torque). A rovno tam pripojim aj kamerove moduly. Predna a zadna na zaznam (ako onboard kamera, cierna skrinka). Zadna bude zaroven sluzit ako cuvacia kamera. Mozno vymyslim aj nieco dalsie.

Uživatelský avatar
forinti
Nováček
Nováček
Příspěvky: 20
Registrován: 03.04.2015 22:22

Re: Napojení vlastní elektroniky.

Příspěvek od forinti » 26.09.2015 22:54

Pravda, v noci by to mohlo být nebezpečné :D Tak tam bude nějaký stimulující noční režim. Nad Raspberry pi 2 jsem taky uvažoval, ale odradila mě údajně špatná kvalita zvuku. Má to snad jen 12 bit DAC v PWM režimu, celkově si na to lidi dost stěžují a řeší to USB zvukovkou.
Ford Focus II 1.8 TDCi 85 kw, r.v. 2008, 223 000 km

MK2
Test driver
Test driver
Příspěvky: 4585
Registrován: 01.09.2008 20:30
Bydliště: Kolín, Nedašov

Re: Napojení vlastní elektroniky.

Příspěvek od MK2 » 27.09.2015 09:33

Pokud máš stažený ten pdf soubor s el. schéma FF2, tak na straně 95/96 najdeš zapojení autorádia.
Tam se můžeš připojit na stálé napětí od baterie (30) - pin 15 oranžovo-černý
zapalování (75) pin 16 žluto-zelený
zem (31) pin 12 černo-zelený

Konektor rádia:
http://www.ford-focus.cz/forum/download ... &mode=view

Taky zjistíš, že ovládání pod volantem není přes MS/HS CAN, ale jde to přímo do rádia :idea:
2012 Mazda 3 2.0DISI 111kW

Uživatelský avatar
forinti
Nováček
Nováček
Příspěvky: 20
Registrován: 03.04.2015 22:22

Re: Napojení vlastní elektroniky.

Příspěvek od forinti » 27.09.2015 12:15

Super, děkuju! To by mohlo jít. Tlačítka vedou přímo do rádia, ale rádio má MS-CAN, tak jsem to myslel tak, že třeba budou chodit zprávy o tlačítkách z rádia ven pro nějaké další moduly. V úterý bych to snad mohl zjistit. Pokud by to nešlo tak se napojím přímo na drát od těch tlačítek.
Ford Focus II 1.8 TDCi 85 kw, r.v. 2008, 223 000 km

stano.
Člen klubu
Člen klubu
Příspěvky: 13642
Registrován: 18.07.2011 19:55

Re: Napojení vlastní elektroniky.

Příspěvek od stano. » 27.09.2015 13:53

Potom pozor na impedancne prisposobenie na zbernici :!:

Uživatelský avatar
forinti
Nováček
Nováček
Příspěvky: 20
Registrován: 03.04.2015 22:22

Re: Napojení vlastní elektroniky.

Příspěvek od forinti » 27.09.2015 14:13

Prozatím to zkusím jen na OBD konektoru - krátké dráty a vysoká impedance.
Jinak vypadá to že na CANu chodí snad úplně všechny tlačítka:
https://docs.google.com/spreadsheets/d/ ... edit#gid=0
Ford Focus II 1.8 TDCi 85 kw, r.v. 2008, 223 000 km

popins
Nováček
Nováček
Příspěvky: 24
Registrován: 05.05.2014 13:39

Re: Napojení vlastní elektroniky.

Příspěvek od popins » 09.10.2015 19:08

Zdar, zajímalo by mě co plánuješ použít za display a hlavně jeho umístění. Pokud teda k tomu boardu budeš nějakej připojovat. Dík
Ford Focus II, 08/2007, 1.6 TDCi, 80 kW, DPF

Uživatelský avatar
forinti
Nováček
Nováček
Příspěvky: 20
Registrován: 03.04.2015 22:22

Re: Napojení vlastní elektroniky.

Příspěvek od forinti » 10.10.2015 15:47

Ahoj, displej zatím neplánuju. Možná později, ale jako největší překážku vidím to že nevím kam bych ho umístil aby to nevypadalo blbě. Jedině nahradit celé rádio něčím vlastním, ale do toho bych se asi nepouštěl.
Ford Focus II 1.8 TDCi 85 kw, r.v. 2008, 223 000 km

stano.
Člen klubu
Člen klubu
Příspěvky: 13642
Registrován: 18.07.2011 19:55

Re: Napojení vlastní elektroniky.

Příspěvek od stano. » 10.10.2015 15:53

ja viem :)
Na slnecnu clonu vojde nejaky 5-6" ;)

Uživatelský avatar
forinti
Nováček
Nováček
Příspěvky: 20
Registrován: 03.04.2015 22:22

Re: Napojení vlastní elektroniky.

Příspěvek od forinti » 30.10.2015 14:23

Už jsem na to přišel! :D Displej vodorovně na palubce a bude promítat zrcadlově přes přední sklo -> HUD. + Čidlo osvětlení pro regulaci jasu.
https://www.youtube.com/watch?v=jaz2EfJfQ-Y

Jinak, teď dávám dohromady prototypovou elektroniku a programuju procesor. Nakonec jsem tam dal Cortex-M3 co má 2 CANy. Po podtaktování a pravidelném uspávání má parádní spotřebu do 2.5 mA a určitě to jde ještě snížit.

Teoreticky by na Linuxu mělo jít spustit navigaci pro Android nebo jiné aplikace.
Ford Focus II 1.8 TDCi 85 kw, r.v. 2008, 223 000 km

stano.
Člen klubu
Člen klubu
Příspěvky: 13642
Registrován: 18.07.2011 19:55

Re: Napojení vlastní elektroniky.

Příspěvek od stano. » 30.10.2015 16:41

To zobrazenie si najprv odskusaj ako vo videu s mobilom. Mne sa to neosvedcilo. V noci to ako tak ide. Za slnecneho dna je to nanic. A tiez v noci, ked je mokra cesta, hlavne v meste. V tej vyske mas vsetky odlesky z cesty.
Navyse, neviem co by povedal ten displej v lete, keby na neho smazi od rana slnko.

Uživatelský avatar
Amoresputas
Nováček
Nováček
Příspěvky: 86
Registrován: 14.06.2010 20:54
Bydliště: Brno
Kontaktovat uživatele:

Re: Napojení vlastní elektroniky.

Příspěvek od Amoresputas » 27.11.2015 14:14

Hojte borci,
jak vidím, tak se v těch drátkách vyznáte více jak v řízku, nechcete mi poradit? :D
Chtěl bych si upravit dvě věci:
1. mám vyhřávací potah a chci jej dát do sedadla - takže napojit na napětí pouze při nastartování - mezi to jen zapojím spínač na zapnutí vyhřívání, žádná velká věda.
2. zavírání oken jede pouze při klíči v pozici žhavení nebo při nastartování - to bych rád přenastavil ať můžu zavřít okno i po nějaké době od vypnutí motoru

Poradíte?
Moc děkuji.
FoFoII rv. 2005 1,8 TDCI

Odpovědět

Zpět na „Technické informace + diagnostika“

Kdo je online

Uživatelé prohlížející si toto fórum: Žádní registrovaní uživatelé a 2 hosti